浏览量:2937
作者:
来源:汽车行业关注
时间:2023-10-12“眼看他起高楼,眼看他宴宾客,眼看他楼塌了”这句话用来形容威马汽车再合适不过。继造车新势力威马汽车申请破产审查后,威马汽车被曝全面停服。
10月11日,多家媒体报道称,有威马汽车车主反映”威马智行”和“小威随行”蓝牙钥匙和远程控车功能网络异常无法使用,疑似后台已停服。另外,威马汽车400客服热线也一直处于忙线状态,无法正常接通。


《汽车行业关注》在查看威马智行App、威马智行小程序、威马汽车官方网站时,也均显示无法正常使用。


据《第一财经》报道,上海两家威马汽车用户中心的客服表示,这与威马汽车后台有关,现在所有威马车辆都碰到了上述问题,售后也没有办法解决。除此之外,目前威马汽车的质保承诺也已经不作数,车主的所有维修保养项目都需要自费,而且目前售后也仅剩一些中小配件,如保养件,电池、电机这样的大配件已经断供。

针对上述消息,威马汽车官方暂未做出回应。
10月10日,威马汽车科技集团有限公司申请破产审查,经办法院为上海市第三中级人民法院。
当天下午,威马汽车在官方微博发布《告知函》表示,鉴于威马公司仍具有商业价值和挽救价值,公司治理结构尚完备,具有基本自主谈判能力,部分债权人也有重整意愿,上海市第三中级人民法院于2023年10月7日受理了威马汽车科技集团的预重整申请。
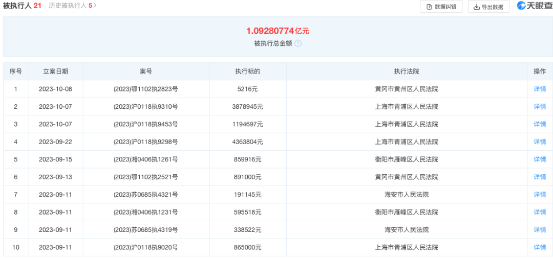
眼下,威马汽车已深陷债务泥沼。天眼查信息显示,威马汽车累计被执行信息为21条,被执行总金额超1亿元。同时该公司还存在多条股权冻结信息,最新一条为9月27日,被执行人为苏州威马智慧出行科技有限公司,冻结股权数额为60亿元,冻结期限自2023年9月27日至2026年9月26日,执行法院为上海市浦东新区人民法院。

除此之外,威马汽车关联公司的股权也多次被冻结。其中,威马温州制造在3月股权已被冻结;而湖北星晖也在年内两度被冻结股权。另外,8月22日,该公司还被上海一家制造业供应商申请破产重整,而该公司正是威马汽车的生产公司,主要生产威马W6车型。
对于威马汽车而言,出现今天这种局面或许早有征兆。从去年开始,威马降薪裁员、门店关停、工厂停产、员工欠薪、欠租金总部即将搬离、APP停摆、客服电话无人接听、创始人成老赖等新闻成为大家饭后谈资,而这些负面新闻也被大家认为是威马正遭遇史无前例的发展危机。

进入2023年后,威马汽车工厂几乎全面停止生产,而其售后体系也趋近崩溃。虽然威马汽车也做出诸多自救举措,但几经挣扎后,最终还是没能支撑住。今年9月,威马汽车位于上海总部的大楼被报道已清空,不到一个月的时间,威马汽车进入破产审查程序。
截至目前,威马汽车旗下在售车型包括EX5、W6、E.5和M7,但几乎处于停产停销局面。如今威马汽车申请破产审查,消费者和经销商的权益该如何保障也成大家关注的焦点。随着智能化的发展,任何汽车品牌的退市,对于消费者而言多少都有些揪心,毕竟涉及车辆后续的维修和质保问题。作为电动车品牌,停服意味着车辆功能失效。因此,如何保障消费者的权益也成为了未来汽车行业所要重视的新课题。

威马汽车在《告知函》中指出:“通过预重整程序,公司将彻底审视公司的运营和经营模式,全面优化各个部门和业务板块,以降低成本、提高效率和实现可持续发展。同时,威马汽车还将引入全球范围的战略投资人”。威马汽车还强调:“威马陷入经营困境,但威马不会躺平,更不会倒下,希望通过调整企业战略,解决财务债务问题,获得投资人参与重组和发展等展开积极自救。”

今日午间,威马汽车在官方微博发布《威马汽车科技集团有限公司预重整债权申报通知》,也就是说,后续威马汽车将通过引入战略投资人以寻求“重生”。但行业认为,虽然威马汽车仍未放弃自救,但处在生死线上挣扎的威马汽车想要“活下去”并非易事。